Apple Patented a Case That Could Boost iPhone Satellite Connectivity
Apple has come up with an intriguing idea to take satellite features on iPhones to the next level. The company from Cupertino filed a patent application back in 2024 for a protective case packed with satellite communication capabilities. This concept recently became public and it focuses on making connections to orbiting satellites more reliable and effective especially in remote spots where regular cell service disappears.
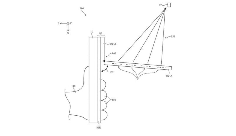
The standout feature of this case is its movable cover that flips open to point toward the sky. Inside that section sits a phased antenna array designed to capture and send signals far better than what built-in phone antennas can manage alone. By extending away from the device the antenna avoids getting blocked by your hand while you hold the phone which is a common issue that weakens signals. The setup uses beamforming technology to direct the signal precisely and it can link up with multiple satellites at once for steadier performance.
Data would flow between the case and the iPhone through radio frequency connections or even NFC in some setups. The whole thing stays user-friendly since you can slap it on or remove it just like any ordinary protective cover. While the patent mentions compatibility with iPads too the main emphasis lands on enhancing what iPhones already offer through features like Emergency SOS via satellite. That could mean faster data transfers smoother messaging and potentially broader uses beyond just emergencies in the future.

One big advantage here is overcoming the natural limits of satellite links where low-Earth orbit satellites zip across the sky quickly. A larger dedicated antenna helps maintain the connection longer and switches between satellites more seamlessly without drops. Users in hiking trails at sea or deep in the wilderness would benefit most from this kind of boost. Of course patents do not always turn into real products so it remains to be seen if Apple will ever bring this to store shelves.
The idea fits right into Apple’s ongoing push to make satellite connectivity feel more natural and everyday. Current iPhone models already let people text emergency services or share locations off the grid but this case could push things toward full internet access or voice calls in tough spots. It shows how creative accessories might solve tricky hardware challenges without redesigning the phone itself every year.
What do you think about a smart case like this would you use one to get better satellite signals in remote areas share your thoughts in the comments.
